A2 Type Brass Cable Glands
 |
 |
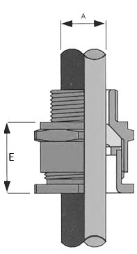
A 2 Type Cable |
|
Gland Size Ref.
|
Entry Thread
|
Cable Details Maximum Dia. "A"
|
Overall Length "E"
|
Hexagonal Details
(Maximum)
|
| Dia. "N"
|
Length "D"
|
Min |
Max |
Hex Size
|
Across Corner
|
| 00 - 20SS
|
M20
|
10
|
3.0
|
8.0
|
18
|
25
|
28.5
|
| 0 - 20S
|
M20
|
10
|
7.0
|
11.0
|
18
|
25
|
28.5
|
| 1 - 20
|
M20
|
10
|
11.0
|
14.5
|
20
|
27
|
30.0
|
| 2 - 25
|
M25
|
10
|
14.5
|
20.5
|
25
|
35
|
38.5
|
| 3 - 32
|
M32
|
10
|
20.5
|
26.5
|
25
|
42
|
48.0
|
| 4 - 40
|
M40
|
15
|
26.5
|
34.5
|
28
|
52
|
59.0
|
| 5 - 50
|
M50
|
15
|
34.5
|
43.5
|
30
|
65
|
72.0
|
| 6 - 63S
|
M63
|
15
|
41.5
|
49.90
|
35
|
71
|
78
|
| 6 - 63
|
M63
|
15
|
47
|
56.0
|
35
|
75
|
82.5
|
| 7 - 75
|
M75
|
15
|
56.0
|
65.0
|
40
|
96
|
112.0
|
| 8 - 82
|
M82
|
15
|
65.0
|
74.0
|
50
|
100
|
113.0
|
| *9 - 90
|
M90
|
15
|
73.0
|
82.0
|
59
|
110
|
113.0
|
| *All Dimensions in Millimeters - Dimensions may differ from published table. |
| *Sizes 9 and 10 are of round slotted material. For use with "C" spanner. |
|
|
| |
|
| Features |
|
To BS 6121 pt. 1 suitable for unarmored plastic or rubber sheathed cables for indoor as well as outdoor application. Gland is made from high quality brass. It is used for all types of SWA cable. Clamping of the armour wire and for electrical continuity and mechanical retention of the cable are the main functions. Used in applications where it is essential to provide an IP66 seal on the outer sheath and either an IP66 or an explosion proof seal (certified version) on the inner sheath .For use with unarmoured elastomer and plastic insulated cables. |
| Gland Sizes |
|
from 16 mm 20mm 32mm 40mm 40mm 50mm 63mm 75 mm 1/2 3/4 1 11/4" 11/2 2 2/12 NPT threads
Also available cable gland kits gland packs |
|